免费发布广告
当前位置:首页 全部新闻 综合苹果新专利:iPhone 屏幕刷新率可增至240Hz

苹果新专利:iPhone 屏幕刷新率可增至240Hz

  • 2021-02-17 10:52:23
  • 来源:
  • 编辑:佚名
  • 0
  • 0

IT之家2月17日消息美国专利和商标局公布的一项新的苹果专利,描述了一种 iPhone 显示屏的多倍刷新率功能。

在启用 iPhone 的高刷新模式后,手机屏幕将支持以 2 倍、3 倍甚至 4 倍的原生刷新率更新内容。例如,一台 60Hz 显示屏的 iPhone 将能够将其可变刷新率自动提高到 120Hz、180Hz 或 240Hz。

根据专利,虽然目前该技术主要应用设备将是 iPhone,但随着时间的推移,本发明将可以扩展到其他设备,例如 iPad,Apple Watch、眼镜、头显、电视、汽车等。

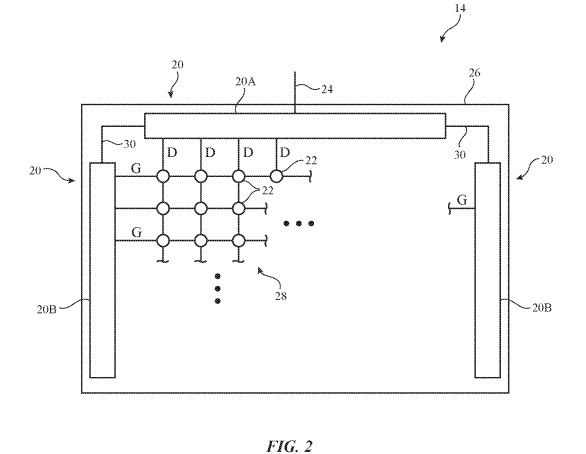
IT之家提醒,以下为苹果专利图。图 2 是说明性显示器的示意图;图 3 是示出图 2 中所示类型的显示器如何被安装的状态图。图 2 所示的系统可以在本机刷新率模式和高刷新率模式下均可操作。

免责声明:本网发布新闻仅为传播即时消息为目的,不确保内容准确或真实性,文章也不代表本网立场。如文章有错误或版权问题,请联系我们修改或删除。联系邮箱:info@idomedia.ca

赞(0)

网友留言评论

2条评论
 
文明上网 礼貌发帖 0/300
声明:频道所载文章、图片、数据等内容以及相关文章评论纯属个人观点和网友自行上传,并不代表本站立场。如发现有违法信息或侵权行为,请留言或直接与本站管理员联系,我们将在收到您的信息后24小时内作出删除处理。